Texas Instruments TPS61087 Step-Up DC-DC Converters

Texas Instruments TPS61087 Step-Up DC-DC Converters are high-frequency, high-efficiency DC-DC converters with an integrated 3.2A, 0.13Ω power switch. This integrated switch can provide an output voltage of up to 18.5V. The selectable frequency of 650kHz or 1.2MHz allows the use of small external inductors and capacitors and provides a fast transient response. The external compensation allows optimization of the application for specific conditions. A capacitor connected to the soft-start pin minimizes inrush current at startup. Typical applications include handheld devices, GPS receivers, digital still cameras, portable applications, DSL modems, PCMCIA cards, and TFT LCD bias supply. The Texas Instruments TPS61087-Q1 devices are AEC-Q100 qualified for automotive applications.

Features

  • 2.5V to 6V input voltage range
  • 18.5V boost converter with 3.2A switch current
  • 650kHz, 1.2MHz selectable switching frequency
  • Adjustable soft-start
  • Thermal shutdown
  • Undervoltage lockout
  • 10-pin QFN and thin QFN packages

Applications

  • Handheld devices
  • GPS receivers
  • Digital still cameras
  • DSL modems
  • PCMCIA cards
  • TFT LCD bias supply

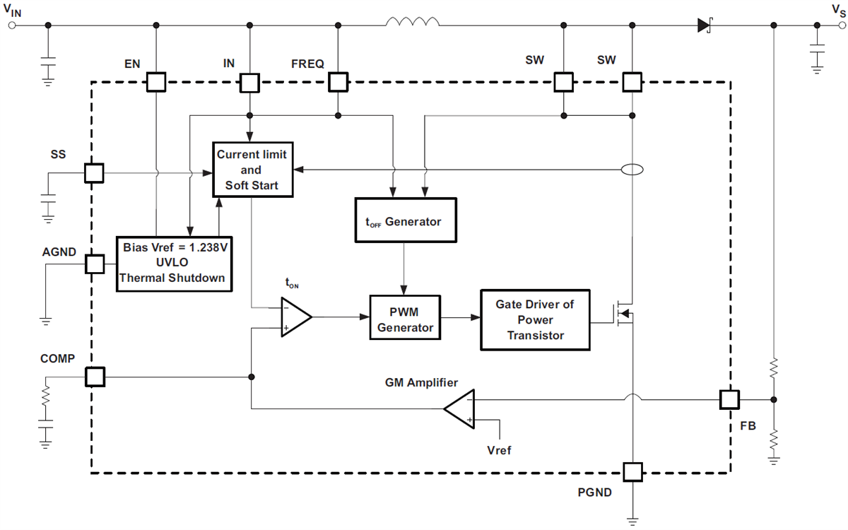
Functional Block Diagram

Block Diagram - Texas Instruments TPS61087 Step-Up DC-DC Converters
Published: 2017-03-10 | Updated: 2022-04-15