Texas Instruments LP87334ERHDR Dual Buck Converter & Regulator
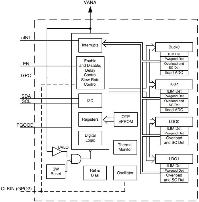
Texas Instruments LP87334ERHDR Dual Buck Converter and Regulator is designed to meet the power management requirements in industrial applications. The device features two step-down DC/DC converters (can be configured as a single dual-phase regulator/two single-phase regulators), two linear regulators, and two general-purpose digital-output signals. The LP87334ERHDR dual high-current buck converter and dual linear regulator are controlled by an I²C-compatible serial interface and an enable signal. This buck converter supports programmable startup and shutdown delays and sequences, including GPO signals synchronized to the enable signal. The LP87334ERHDR regulator offers output short-circuit and overload protection, overtemperature warning, and protection, Overvoltage Protection (OVP), and Undervoltage Lockout (UVLO). This regulator is suitable for test and measurement equipment industrial applications.Features
- Two high-efficiency step-down DC-DC converters:
- 0.7V to 3.36V Output voltage
- 3A maximum output current
- Programmable output-voltage slew rate from 0.5mV/µs to 10mV/µs
- 2MHz switching frequency
- Spread-spectrum mode and phase interleaving for EMI reduction
- Two linear regulators:
- 2.5V to 5.5V input voltage
- 0.8V to 3.3V output voltage
- 300mA maximum output current
- 2.8V to 5.5V input voltage range
- Configurable General-Purpose Output signals (GPO, GPO2)
- Interrupt function with programmable masking
- Programmable Power-Good Signal (PGOOD)
- Output short-circuit and overload protection
- Overtemperature warning and protection
- Overvoltage Protection (OVP) and Undervoltage Lockout (UVLO)
- 28-pin, 5mm × 5mm VQFN package with wettable flanks
Applications
- Industrial appliances
- Test and measurement
- Industrial applications
Functional Block Diagram
Schematic
Published: 2024-01-09
| Updated: 2024-01-18
