Texas Instruments LMG3626 700V 220mΩ GaN FET

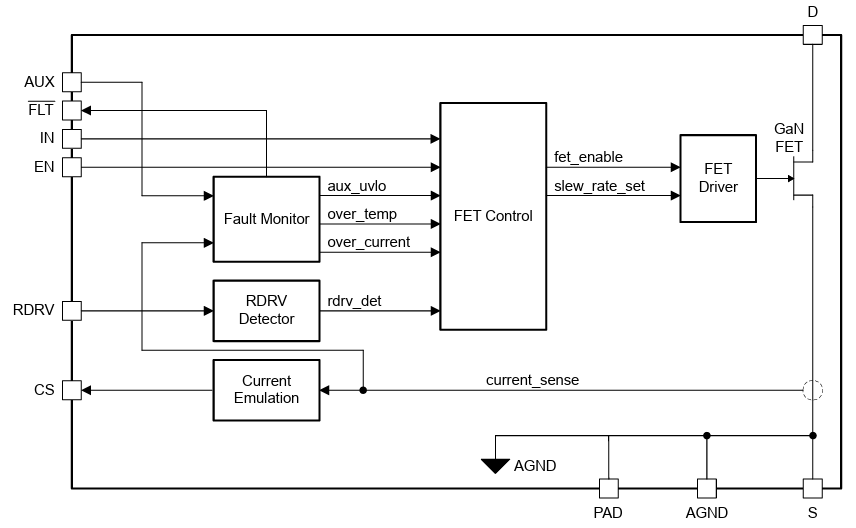
Texas Instruments LMG3626 700V 220mΩ GaN FET is designed for use in Switch-Mode Power Supply (SMPS) applications. This IC supports converter light-load efficiency requirements and burst-mode operation with low quiescent currents and fast start-up times. The LMG3626 features combine a gate driver, protection, and current sensing. This GaN FET protection features include Under-Voltage Lockout (UVLO), cycle-by-cycle current limit, and overtemperature protection. The LMG3626 GaN FET supports the high voltages encountered in off-line power switching applications. The GaN FET is offered in an 8mm x 5.3mm QFN package with a thermal pad. The LMG3626 is ideal for AC/DC adapters and chargers, mobile wall charger design, USB wall power outlet, auxiliary-power supplies, SMPS power supply for TVs, and LED power supplies.

Features

  • 700V, 220mΩ GaN power FET
  • Integrated gate driver with low propagation delays and adjustable turn-on slew-rate control
  • Current-sense emulation with high bandwidth and high accuracy
  • Cycle-by-cycle overcurrent protection
  • Overtemperature protection with FLT pin reporting
  • 240μA AUX quiescent current
  • 50μA AUX standby quiescent current
  • 26V maximum supply and input logic pin voltage
  • -40°C to 125°C operating temperature range
  • 8mm x 5.3mm QFN package with thermal pad

Applications

  • AC/DC adapters and chargers
  • Mobile wall charger design
  • USB wall power outlet
  • Auxiliary-power supplies
  • SMPS power supply for TVs
  • LED power supplies

Block Diagram

Block Diagram - Texas Instruments LMG3626 700V 220mΩ GaN FET
Published: 2025-09-19 | Updated: 2025-09-30