Texas Instruments IWR1443 Single-chip 76GHz to 81GHz mmWave Sensors
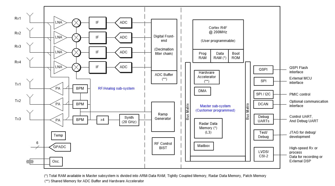
Texas Instruments IWR1443 Single-chip mmWave Sensors are based on FMCW radar technology capable of operation in the 76GHz to 81GHz band with up to 4GHz continuous chirp. The IWR1443 is an ideal solution for low-power, self-monitored, ultra-accurate radar systems in industrial applications. The IWR1443 is built with TI’s low-power 45nm RFCMOS process, enabling new levels of integration in an extremely small form factor. The device includes a monolithic implementation of a 3TX, 4RX system with built-in PLL and A2D converters.A fully configurable hardware accelerator is included on the mmWave Sensors that supports complex FFT and CFAR detection. Additionally, the device includes two ARM R4F-based processor subsystems. One processor subsystem is for master control and additional algorithms. The second processor subsystem is responsible for front-end configuration, control, and calibration. The device offers simple programming model changes that can enable a wide variety of sensor implementation, with the possibility of dynamic reconfiguration for implementing a multimode sensor. The IWR1443 includes reference hardware design, software drivers, sample configurations, API guide, training, and user documentation.
Features
- FMCW Transceiver
- Integrated PLL, transmitter, receiver, baseband, and A2D
- 76GHz to 81GHz Coverage with 4GHz continuous bandwidth
- Four receive channels
- Three transmit channels (two can be used simultaneously)
- Ultra-accurate chirp engine based on Fractional-N PLL
- 12dBm TX Power
- RX Noise figure:
- 14dB (76GHz to 77GHz)
- 15dB (77GHz to 81GHz)
- Phase noise at 1MHz:
- -95dBc/Hz (76 to 77GHz)
- -93dBc/Hz (77 to 81GHz)
- On-chip programmable core for embedded user application
- Integrated Cortex®-R4F microcontroller clocked at 200MHz
- On-chip bootloader supports autonomous mode (loading user application from QSPI Flash memory)
- Integrated peripherals
- Internal memories with ECC
- Radar hardware accelerator (FFT, Log-magnitude computations, and others)
- Integrated timers (Watchdog and up to four 32-bit or two 64-bit timers)
- I2C (Master and slave modes supported)
- Two SPI ports
- CAN Port
- Up to six general-purpose ADC ports
- High-speed data interface to support distributed applications
- Built-in calibration and self-test
- ARM® Cortex®-R4F-Based radio control system
- Built-in firmware (ROM)
- Self-calibrating system across frequency and temperature
- Host interface
- Control interface with an external processor over SPI
- Data interface with an external processor over MIPI D-PHY and CSI2 V1.1
- Interrupts for fault reporting
- IWR1443 Advanced features
- Embedded self-monitoring with no host processor involvement
- Complex baseband architecture
- Embedded interference detection capability
- Power management
- Built-in LDO network for enhanced PSRR
- I/Os Support dual voltage 3.3V/1.8V
- Clock source
- Supports external oscillator at 40MHz
- Supports externally driven clock (Square/Sine) at 40MHz
- Easy hardware design
- 0.65mm Pitch, 161-Pin 10.4mm × 10.4mm Flip-chip BGA package for easy assembly and low-cost PCB design
- Small solution size
- Operating conditions
- -40°C to 105°C junction temp range
Applications
- Industrial sensor for measuring range, velocity, and angle
- Tank-level probing radar
- Displacement sensing
- Field transmitters
- Traffic monitoring
- Proximity and position sensing
- Security and surveillance
- Factory automation
- Safety guards
Block Diagram
Published: 2018-12-17
| Updated: 2024-09-16
