Texas Instruments bq76907/bq76907-Q1 Low-Power Monitor & Protector

Texas Instruments bq76907/bq76907-Q1 Low-Power Monitor and Protector provides a highly integrated, high-accuracy battery monitor and protector for 2-series to 7-series Li-ion, Li-polymer, LiFePO4 (LFP), and LTO battery packs. The device includes a high-accuracy monitoring system with a dedicated coulomb counter and accumulated charge integration, a highly configurable protection subsystem, and support for host-controlled cell balancing. Integration includes low-side protection NFET drivers, a programmable LDO for external system use, and an I2C host communication interface supporting up to 400kHz operation with optional CRC. The Texas Instruments bq76907/bq76907-Q1 is available in a 20-pin QFN package. The bq76907-Q1 devices are AEC-Q100 qualified for automotive applications.

Features

  • Battery monitoring capability for 2-series to 7-series cells
  • Integrated low-side drivers for NFET protection with optional autonomous recovery
  • Extensive protection suite including voltage, temperature, current, and internal diagnostics
  • 16-bit delta-sigma voltage ADC
    • High-accuracy cell voltage measurement of 4mV (typical)
  • Dedicated 16- or 24-bit delta-sigma coulomb counter ADC
    • High-accuracy current measurement with low input offset error
    • Wide-range current applications (±200mV measurement range across sense resistor)
    • 48-bit accumulated charge integrator with timer
  • Multiple power modes (typical battery pack operating range conditions)
    • NORMAL mode: 32µA to 175µA
    • SLEEP mode: 6µA
    • DEEPSLEEP mode: 2.7µA
    • SHUTDOWN mode: < 1µA
  • Host-controlled cell balancing
  • High-voltage tolerance of 45V on cell connect and select additional pins
  • Support for temperature sensing using an internal sensor and an external thermistor
  • Integrated one-time-programmable (OTP) memory for device settings, programmed by TI
  • 400kHz I2C serial communications with optional CRC support
  • Programmable LDO for external system usage
  • 20-pin QFN (RGR) package

Applications

  • Cordless power tools and garden tools
  • Vacuum cleaners
  • Non-military drones
  • Other industrial battery pack (2 series to 7 series)

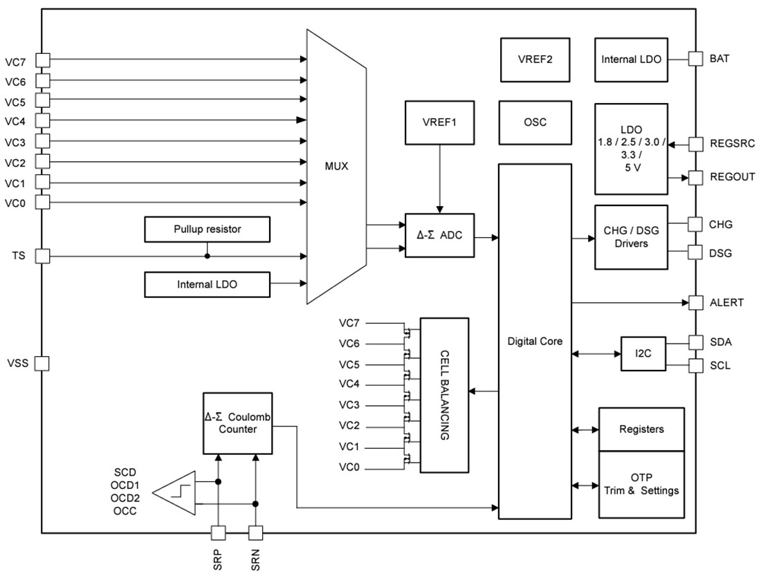
Functional Block Diagram

Block Diagram - Texas Instruments bq76907/bq76907-Q1 Low-Power Monitor & Protector
Published: 2024-02-06 | Updated: 2025-04-25